开业仅4年!南京网红文化地标又生变!开发商被执行超2亿元

刚刚,南京知名文化地标可一书店·仙林艺术中心又生变故,开发商江苏可一文化产业集团股份有限公司启动预重整程序,期限为六个月。

01

被执行超2亿元!南京知名企业启动预重整

南京市栖霞区人民法院于2025年8月5日裁定对江苏可一文化产业集团股份有限公司(下称“江苏可一文化”)启动预重整程序 ,预重整期限为6个月 。该裁定系根据债权人中国工商银行南京栖霞支行的申请作出,法院同步指定泰和律师事务所与天职国际会计师事务所担任预重整管理人,统筹债务重组与资产核查。

据悉,预重整是破产前的一种庭外重组程序,是在正式进入司法重整程序前,债务人与债权人、投资人等利益相关方通过协商达成重组方案的过程。



公开资料显示,江苏可一文化成立于1995年,是一家专业致力于全民人文素质培养,以文化教育、文学艺术和古籍典藏类出版为主的内容提供商及产品运营商,凭借多元化立体销售网络,在纸质图书、报刊、数字出版等全媒介,实现了创意策划、设计制作、广告发行的全产业链运营。


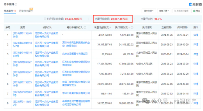
天眼查显示,目前,江苏可一文化被列为被执行人,被限制高消费,被执行标的总金额为21239.18万元,其中未履行总金额达20967.49万元。


02

可一书店,陪伴南京人28年


江苏可一文化在南京创办了老牌书店——可一书店。从湖南路到仙林,可一书店曾伴随南京几代读者成长,一度成为“文学之都”南京的文化符号。



1997年,可一书店择址于当时的南京商业中心湖南路。店面约400平不到,一楼是可一书店,二楼是可一画廊,门头上写着“读书是最美的姿态”,许多艺术家画家的作品展览、作家的新书发布会,都会选择在这里举办。


△可一书店(图源网络,如有侵权请联系删除)

2016年,可一书店从湖南路店搬迁到南京艺术学院,2021年再搬迁至仙林大学城,升级成为可一书店·仙林艺术中心。





可一书店·仙林艺术中心建筑面积约三万多平米,地上4层,地下3.5层,北面滨湖,设有亲水艺术大道,南面临街,邂逅街角咖啡馆,四面下沉广场。内部设有可一美术馆、可一实验剧场、可一文学馆,以及文创馆、咖啡馆、儿童游乐、餐饮等配套服务。


△可一书店·可一实验剧场(图源网络,如有侵权请联系删除)


然而开业没多久,可一书店·仙林艺术中心就被曝消防验收未通过,遭大量商户投诉。据悉,在消防未通过、商场无法推广引流的前提下,管理方依然通知商户开业,并收取房租。

△图源标点帮忙

自2023年起,可一书店·仙林艺术中心多次上架法拍,但最终以流拍收场。>>>1年市值缩水超1亿元!南京网红文化地标,遭分割甩卖!如今的可一书店·仙林艺术中心内部商户陆续撤场和闭店,人气萧条。

此外,江苏可一文化旗下镇江宝华“江苏可一文化艺术园”的21幢别墅近期也遭法拍。